
Rumores previos afirmaban que Apple podría cambiar de pantallas LCD a OLED flexibles en el 2018, justo a tiempo para el iPhone 8, y el día de hoy, una nueva patente revela cómo es que la compañía podría introducir una pantalla plegable en sus smartphones venideros.
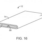
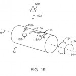
Esta patente, que fue enviada para su aprobación en septiembre y que fue autorizada este jueves, describe a un dispositivo con una pantalla doblable. La compañía ofrece múltiples diseños, los cuales van desde algunos ligeramente plegables hasta otros totalmente cilíndricos.
Sin embargo, no importa qué forma el dispositivo tome, ya que siempre contaría con la misma configuración básica, la cual incluye una pantalla OLED flexible y una capa protectora de zafiro encima. Además, traería consigo un sensor táctil dentro, un acelerómetro y un giroscopio, así como todo el hardware tradicional para darle vida al iPhone.
Apple también explora cómo es que estas nuevas formas podrían afectar la interfaz con el usuario. Por ejemplo ¿qué pasaría cuando comienzas a inclinar el dispositivo o si lo doblas por completo? Por supuesto, la compañía tiene algunas ideas de cómo reaccionaría el software para cada uno de estos casos particulares.
De cualquier forma, esto sólo es una patente y los planes actuales de Apple probablemente no sean tan extremos como las imágenes de la misma. Aún así, es interesante ver algunas de las ideas que la empresa está considerando para sus dispositivos a futuro.
Referencia: USPTO







