
Durante mucho tiempo, se ha dicho que Samsung se encuentra trabajando en un nuevo smartphone revolucionario, el cual tendría la característica de ser plegable y que además podría lanzarse este mismo año.
Dispositivos como el iPhone original fueron lo suficientemente innovadores para acabar con gigantes como Nokia y BlackBerry y cambiar la industria por completo. LG está queriendo hacer lo mismo con su nuevo G5, que tendrá la característica de ser modular.
Sin embargo, parece que Samsung quiere ir más allá y ofrecer algo totalmente nuevo que se separe por completo de la competencia y que además signifique el cambio en una industria que parece haberse estancado de nuevo.
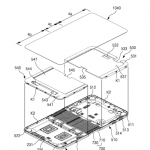
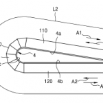
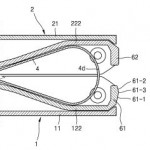
Durante los pasados días, la compañía surcoreana registró una nueva patente en la que se describe la tecnología necesaria para construir el primer smartphone plegable del mundo. Éste contaría con una pantalla de gran tamaño que podría doblarse por la mitad.
Es bien sabido que, en la industria de la tecnología, el registro de patentes se hace todo el tiempo, pero al final, la mayoría de estos dispositivos acaban por no materializarse. Sin embargo esto podría ser diferente para esta nueva patente.
Y es que la solicitud de registro la misma fue hecha el pasado 11 de marzo y aprobada dos semanas después. Este acelerado proceso podría indicar que el smartphone plegable ya se encuentra en etapas avanzadas de desarrollo y que podría lanzarse este mismo año.
Con ello, Samsung podría fortalece su posición como lider en innovación. Y es que un phablet de gran tamaño capaz de doblarse y meterse cómodamente en el bolsillo es una idea bastante atractiva, aunque tendremos que esperar para ver si al final dicha idea se lleva a cabo o se queda en un mero proyecto a medias.
Referencias: SamMobile, BGR, TechnoBuffalo









