Sony ha registrado una nueva patente que busca acelerar al máximo el rendimiento del ray-tracing en los juegos de PlayStation 5 para dar una mejor experiencia de gameplay a sus usuarios:

PlayStation VR2: Se revela el diseño oficial del auricular VR de próxima generación

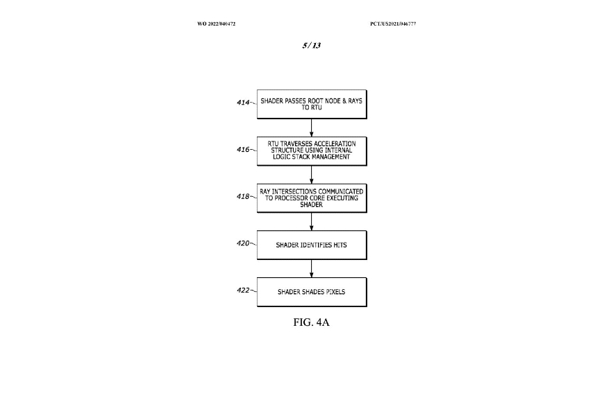
La tecnología pantentada por Sony fue creada por Mark Cerny, él es el ingeniero responsable delPlayStation 5 y PlayStation 4, la patente se lleva el nombre de sistema y método para trazado de rayos acelerado con operación asíncrona y transformación de rayos.

Lo que quiere lograr Sony con nueva patente

Lo que busca Sony al certificar esta tecnología es utilizar los procesadores de shaders para acortar los rayos, aumentando el rendimiento general cuando está activada la funcionalidad de ray-tracing.

La propia patente explica

«la estrategia de procesado puede resultar en un significativo incremento de la velocidad del trzado de rayos, ya que el programa de shaders solo realiza pruebas de impacto»

Es un hecho que el ray-tracing se ha convertido en la tecnología gráfica de más actual y requerida, con su llegada al público general con las tarjetas RTX de Nvidia.

Como era de esperarse tanto PlayStation 5 como Xbox Series X implementaron el ray-tracing como uno de sus principales características competitivas, casos especificos que sacaron gran provecho de ella fueron los juegos exclusivos de PS5, Spider-Man: Miles Morales y Ratchet & Clank: Rift Apart.

Pero aplicar esta tecnología en todos los juegos todavía es muy caro para las compañias desarrolladoras.

Gran Turismo 7, una de las grandes exclusivas, por ejemplo no se aplica en las carreras solamente funcionará en las repeticiones y en modos de visualización de vehículos.

Habrá que esperar en el futuro como la consola de Sony saca provecho en futuras entregas de juegos.

No olvides suscribirte a nuestro canal de YouTube Unocero Gaming donde tenemos reseñas, tops, noticias y toda la información de la de industria de los videojuegos.